python学习笔记:opencv的图像操作_cap.read()-CSDN博客
OpenCV 简介 | 菜鸟教程
Opencv+Python学习记录1:读取,保存,显示图像_python opencv 读取并显示图片 jupyter-CSDN博客
永兴的笔记-OpenCV-1基本操作_opencv-1通道-CSDN博客
【OpenCV + Python】ret, frame = cap.read()返回值含义&视频读取-CSDN博客
OpenCV和Python动手操作计算机视觉学习教程_python computer vision-CSDN博客
python+opencv入门-图像的基本操作_本关任务:了解opencv计算机视觉库,学习使用opencv采集图片、读取图片、展示图片以 ...
【OpenCV + Python】ret, frame = cap.read()返回值含义&视频读取 - 程序员大本营
【Opencv-Python】数字图像处理(一) —— 图像的基本操作_cv2 imshow-CSDN博客
OpenCV for Python 学习第一天:图像的基础操作(读取、展示、保存)_python用opencv工具包的函数读取显示保存-CSDN博客
OpenCV-Python(9):图像基础操作_opencv获取roi图像-CSDN博客
Python+OpenCV图像处理从入门到实践:详解图像操作与视频处理_python opencv从入门到实践-CSDN博客
python-opencv学习二:图像的相关操作(读入、显示、保存)_python opencv 图像保存-CSDN博客
功能强大的python包(四):OpenCV (数字图像处理)
Python基于OpenCV的人脸识别自助商店(源码&部署视频) - 知乎
opencv学习:图像视频的读取&截取部分图像数据&颜色通道提取&合并颜色通道&边界填充&数值计算&图像融合_opencv摄像头图像采集-CSDN博客
使用Python+Opencv从摄像头逐帧读取图片保存在本地-阿里云开发者社区
Python-初学openCV——图像预处理(一) - 详解 - yjbjingcha - 博客园
OpenCV-Python实战(2)——图像与视频文件的处理_pythonopencv处理视频-CSDN博客
完整教程:Python-初学openCV——图像预处理(二) - yfceshi - 博客园
opencv-python-cpp-tutorial: 学习opencv记录,有需要共同学习,加微信入群:AI-CNN
机器学习:基于OpenCV和Python的智能图像处理最新章节全文无弹窗在线阅读-QQ阅读男生中文玄幻网
【opencv自学】pythonopencv简介、安装、图像基本操作,平移、缩放、画线、画圆、画矩形、画文字、图像混合等1-20 - 知乎
Opencv+Python学习记录8:图像算术运算(内附详细代码)_opencv里使用按位与操作保留指定部分-CSDN博客
OpenCV图像操作基础——Python学习笔记_namedwindow 显示灰度-CSDN博客
OpenCV Python 读取图片 (imread) - 创客出手
【Python Opencv】图片与视频的操作_python opencv 处理视频 保存-CSDN博客
OpenCV-Python学习笔记(三):图像的基础操作:获取像素值并修改、获取图像信息、ROI、通道拆分与合并、边界填充_获取图片最后一个 ...
opencv笔记-摄像头的调用并保存照片_youyeye的技术博客_51CTO博客
OpenCV 学习笔记-1-简介 - 知乎
OpenCV-Python学习(5)—— OpenCV 图像像素的读写操作 - 知乎
【学习笔记】opencv的python接口 读取摄像头、图像和绘图_qq63f87738d96a0的技术博客_51CTO博客
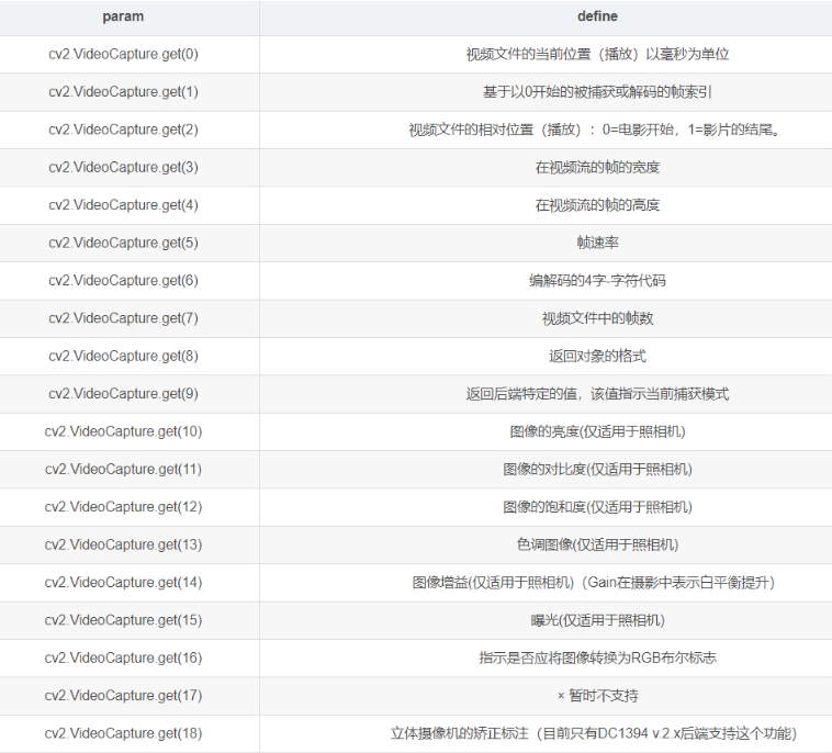
python图像处理opencv笔记(二):视频基本操作_cv2 videocapture get-CSDN博客
Python OpenCV图像处理:从基础到高级的全方位指南_python-opencv-CSDN博客
使用Opencv-python库读取图像、本地视频和摄像头实时数据-腾讯云开发者社区-腾讯云
【跟官网学opencv-python】笔记2.1:opencv基本图像操作_用openv读取一-张图像返回img ,下列说法正确的是 ...
基于opencv-python的深度学习模块案例_opencv深度学习代码-CSDN博客
【Opencv学习笔记】opencv与python图像处理_opencv和numpy对应版本-CSDN博客
OpenCV学习笔记01--图像处理基本操作--读取、显示、保存_opencv的结果保存功能是什么-CSDN博客
opencv - python学习一_youyeye的技术博客_51CTO博客
OpenCV 基础图像处理操作_pip install opencv-python numpy-CSDN博客
OpenCV入门指南:从基础到实战,轻松掌握计算机视觉技术_基于opencv的计算机视觉的理论知识和实践技能的掌握程度-CSDN博客
Python+OpenCV图片基本操作:读取像素值、图片展示_python opencv获取图像中间kernel像素-CSDN博客
Opencv-Python学习笔记(一):图像读取、显示、保存_imshow("input", image);-CSDN博客
【OpenCV-python】图片读写和图像展示详解 - 知乎
opencv学习笔记----图像基本使用方法-CSDN博客
【官方旗舰店】OpenCV 4详解基于Python计算机视觉图像处理机器学习人工智能零基础编程从入门到实践计算机网络电脑编程书籍_虎窝淘
openCV教程(一):图片基本操作-CSDN博客
基于 opencv 的图像处理入门教程 - 知乎
【OpenCV基础(四)】图像原理与图像操作_opencv原理-CSDN博客
《OpenCV计算机视觉项目实战(Python版)》读书笔记模板_word文档在线阅读与下载_无忧文档
【OpenCV】Python OpenCV的基本图像处理操作:读取、显示、保存、获取属性_python opencv读取图像-CSDN博客
openCV-Task01:001-004 认识计算机视觉;计算机视觉框架;OpenCV框架;图像读取与显示-CSDN博客
OpenCV-Python学习笔记(5):形态学变换与图像梯度 | 烈烈风中、的博客
python实现opencv学习一:读取一张图片_python和opencv读一张图-CSDN博客
Python使用opencv 打开摄像头_mport cv2 import numpy as np # 打开摄像头 cap = cv2.vid ...
OpenCV图像处理:基于形态学的直线检测实战教程_51CTO学堂_专业的IT技能学习平台
Python基于OpenCV的双目视觉深度图算法(源码&教程) - 知乎
图像识别的笔迹识别系统-Python OpenCV PyQt5_opencv+python+pyqt5-csdn博客-CSDN博客
opencv快速入门—图像像素的读写操作_快速像素操作-CSDN博客
Python+OpenCV(十五)——开闭操作_python opencv 闭操作_再说就烦了的博客-CSDN博客
Python&Opencv手势识别系统(完整源码&自定义UI操作界面&视频教程)_python基于opencv的指针式表盘检测系统(源码&教程 ...
Python Opencv实践 - 视频文件操作
OpenCV学习-P4-P18 Opencv基本操作介绍及图像基础处理_c++ opencv定义全255的图-CSDN博客
cap.read · Issue #437 · opencv/opencv-python · GitHub
OpenCV自学笔记分享 Python与OpenCV基础入门:零起点学习计算机视觉 第02天:图像的读取、显示和存储 - 知乎
《计算机视觉40例从入门到深度学习 OpenCV Python》读书笔记思维导图_word文档在线阅读与下载_无忧文档
Opencv基础操作(一)读取图片、显示、保存 - 知乎
基于python+opencv的图像目标区域自动提取-CSDN博客
opencv-python 2 图像基本操作 - 一枚码农 - 博客园
OpenCV自学笔记分享 Python与OpenCV基础入门:零起点学习计算机视觉 第11天:图像操作——锐化操作和边缘检测 - 知乎
OpenCV自学笔记分享 Python与OpenCV基础入门:零起点学习计算机视觉 第06天:图像位运算、掩码、混合操作 - 知乎
python-opencv笔记 图像的读取和简单几何图形绘制 - mrbean - 博客园
Python计算机视觉——实验一 图像的基本操作_python 视觉 实验指导书-CSDN博客
OpenCV人工智能图像处理学习笔记2 opencv初识图片保存像素理解_cv2 imwrite 保存图片的像素-CSDN博客
一文秒懂:基于 OpenCV 的图像处理入门技巧!-CSDN博客
opencv学习笔记1:图像基础、图像操作、直方图均衡化详解_opencv图像基础操作-CSDN博客
Learnopencv:掌握OpenCV的C++和Python实践指南-CSDN博客
pythonopencv图像处理基本操作示例详解_word文档在线阅读与下载_无忧文档
python中的opencv模块读取笔记本摄像头并实时显示时间信息 - wind_under_the_wing - 博客园
OpenCV自学笔记分享 Python与OpenCV基础入门:零起点学习计算机视觉 第03天:基本的图像与视频操作 - 知乎
Python 图像处理OpenCV:绘制三种图像的直方图(笔记)_请分别使用opencv和matplotlab对给定的4个图像绘制直方图-CSDN博客
opencv图像像素的读写操作-CSDN博客
OpenCV从零入门!清华大佬半天带你吃透【OpenCV图像处理】工具!从安装到实战,新手必备的干货教程!(深度学习/计算机视觉)_哔哩哔哩 ...
基于python的opencv图像预处理(一)-阿里云开发者社区
OpenCV基础知识(2)— 图像处理的基本操作(读取图像、显示图像、保存图像和获取图像属性)_opencv怎么保存修改后的图片-CSDN博客
python opencv 图像预处理1_opencv 预处理函数-CSDN博客
【OpenCV】入门教学/了解图像处理的基本原理-腾讯云开发者社区-腾讯云
Opencv文档扫描OCR识别(python)_python 使用opencv解析该图片并获取泳道标题,节点信息;并使用ocr的功能获取泳道以 ...
OpenCV 图像运算 -《Opencv轻松入门-面向python》3 - 知乎
OpenCV图像加载与基础操作指南-CSDN博客
【OCR文字识别技术】基于python的Opencv项目实战!超级实用,直接写进简历里!opencv python/深度学习实战/计算机视觉 ...
Python+OpenCV4:读写输入和输出的简单实践(图片、视频、摄像头) - 何雨龙 - 博客园
Python的opencv学习总结_opencv python学习报告-CSDN博客
基于python的Opencv项目实战 (一)图像基本操作 - 灰信网(软件开发博客聚合)
opencv(Python)学习笔记(1) - 知乎
初识OpenCV-day1:图像基础-原理、操作与应用-CSDN博客
Python OpenCV 练习指南 01:读取、显示与储存图像示 - 知乎
OpenCV-Python图像处理学习笔记(五)——Canny 边缘检测、图像金字塔、轮廓检测(一) - 知乎
Based on this image's title: “python学习笔记:opencv的图像操作_cap.read()-CSDN博客”